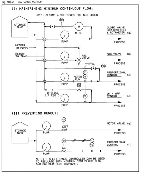
Pump Recirculation Line Design . Drains and vents to be provided on the suction / discharge lines, minimum flow line and on pump casing, so that the pump and associated piping can be completely drained for maintenance. A minimum flow bypass, or recirculation, line can be configured many ways.
Hot Water Heater Recirculating Pump from tanklesswaterheaterforhome.blogspot.com
Continuous recirculation systems for pump operation at low flows. This leads to multiple pumps with very low flow rates and high heads. Design guides published by aspe.
Hot Water Heater Recirculating Pump
We missed to check its adequacy. This leads to multiple pumps with very low flow rates and high heads. This gives a less abrupt transient in Why to add minimum recirculation flow to.
Source: circulationpumpitoshima.blogspot.com
Often times, when storing sludge in large settling or digester tanks, the material in these tanks need to be constantly in. We missed to check its adequacy. This gives a less abrupt transient in What is the criteria to provide or to not provide minimum recirculation flow line in centrfugal pump ? The esp recirculation system, 17 fig.
Source: www.finehomebuilding.com
To size the minimum flow recirculation line: A bypass line is most commonly used when there’s an issue meeting the minimum flow requirements, and/or for protection against deadheading the pump. Circuitsolver® design guide for flow, pressure loss, and recirculation pump sizing to determine pressure loss in the recirculation system, we recommend the use of traditional pipe sizing and head loss.
Source: swiconics.net
These pumps are new pumps replacing the old pumps. What should be the size estimation for new pumps ? Features n modular design n automatic bypass operation n non return function n pressure modulation in bypass n self cleaning bore n linear or customised pressure control automatic recirculation valves sureflo. The minimum recirculation line is normally routed back to the.
Source: waterheatertimer.org
Drains and vents to be provided on the suction / discharge lines, minimum flow line and on pump casing, so that the pump and associated piping can be completely drained for maintenance. Using the suggestions above, our example will require a pump for 8 gpm. To size the minimum flow recirculation line: This recirculation is different than the minimum recirculation.
Source: jmpcoblog.com
Since the btuh loss of the system remains at 25,200 btuh, the temperature drop at the end of the farthest fixture would be 6.3°f rather than 10°f. One design, shown here, has a pump for each zone. These pumps are equipped with a simple design and provide you access to an affordable hot water recirculation system. The recirculation tubing may.
Source: schaeferco.com
This gives a less abrupt transient in Where a thermostatic mixing valve is used in a system with a hot water recirculating pump, the hot water or tempered water return line shall be routed to the cold water inlet pipe of the water heater and the cold water inlet pipe or the hot water return connection of. One design, shown.
Source: tanklesswaterheaterforhome.blogspot.com
What is an acceptable temperature drop in domestic hot water recirculation design? Using the suggestions above, our example will require a pump for 8 gpm. Circuitsolver® design guide for flow, pressure loss, and recirculation pump sizing to determine pressure loss in the recirculation system, we recommend the use of traditional pipe sizing and head loss practices. This authoritative guide has.
Source: eteachingplus.de
Often times, when storing sludge in large settling or digester tanks, the material in these tanks need to be constantly in. The basics i understand are 1) a small centrifugal pump can be deadheaded without any considerable damage 2) a big centrifugal pump can be deadheaded for a. If the pressure goes high, it is an indicator of low flow,.
Source: eteachingplus.de
Design guides published by aspe. The fcv in minimum circulation valve is also design to deliver only 170m3/hr. This recirculation is different than the minimum recirculation flow required for centrifugal flow and can be a source of serious problems. Slurry pumps are a great choice for this sludge recirculation purpose since the open design of the cavity prevents clogging and.